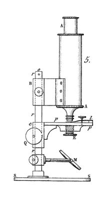
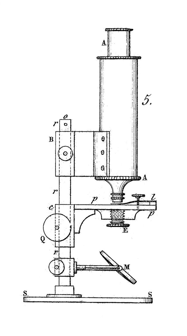
M0016943: Diagram of a microscope in use in 1842
- Date:
- 1958
- Reference:
- WT/D/1/20/1/152/47
Licence: Public Domain Mark
Credit: M0016943: Diagram of a microscope in use in 1842. Source: Wellcome Collection.
Licence: Public Domain Mark
Credit: M0016943: Diagram of a microscope in use in 1842. Source: Wellcome Collection.